Cryostats à dilution
Pourquoi un cryostat à dilution ?
A la pression ambiante, l'hélium liquide a une température d'ébullition de 4,2 K (-269 C), température que l'on peut abaisser jusqu'à 1,5 K en appliquant une dépression au dessus du liquide. Toutefois, pour passer la barre des 1 K, il faut un dispositif plus complexe faisant appel à la dilution de l'isotope 3He (rare et cher) dans de l'hélium ordinaire (4He). On parle alors de "cryostat à dilution", un abrégé pour "cryostat à dilution d'hélium-3 dans l'hélium-4".
Cette technique donne aux expérimentateurs l'accès aux "très basses températures" ou TBT en abrégé.
Principe de la production de froid par dilution de 3He dans 4He : voir l'animation
Les 1ers cryostats à dilution à l'ILL
Le premier : Les rapports annuels font état d'un cryostat à dilution construit en 1973 [1] par le CNRS/CRTBT pour l'ILL, c'est à dire avant l'invention des échangeurs à poudre d'argent [2]. Le rapport annuel 74/75 du CNRS cite ce projet sans en préciser qui l'a porté (Gilbert Ardin, Jean Siaud ?) mais Daniel Thoulouze (CRTBT) précise :
J’ai participé à la réalisation de ce réfrigérateur, mais n'en ai plus un souvenir très précis. Il était composé du cryostat proprement dit, à gros débit (quelques centaines de micromoles) avec un échangeur continu concentrique, et d'un châssis contenant les groupes de pompage et de circulation de He3 et He4 afin de pouvoir être manipulé par un pont roulant. Comme on ne demandait pas à ce réfrigérateur de descendre très bas, mais d'avoir une bonne puissance frigorifique vers 100 mK, un échangeur continu suffisait donc, au moins dans un premier temps.
Le design était CRTBT, la réalisation par les techniciens du CRTBT et la dilution par Jurek très probablement.
Ce cryostat a atteint 60 mK en 1974 et 55 mK en 1975 et quelques expériences ont été effectuées sur D1B et sur IN13. Dans un article de 1976 [3] il est noté qu'il avait été possible de travailler à 65 mK pendant 45 heures.
Le décès de Gabriel Prati en 1976 dans un accident d'avion de tourisme, arrête ce développement jusqu'à ce que Jean-Louis Ragazzoni (1977) et Peter Suttling (1978) le remplacent. Le rapport de 1977 note que la tâche prioritaire des nouveaux responsables est de fiabiliser ce cryostat. Ils semblent avoir réussi car le rapport de 1978 note à ce propos :
- "Measurements at very low temperature are now, if not easy, at least possible, thanks to the efforts made since 1977"
Le second : Les rapports annuels ne disent rien d'un cryostat à dilution Oxford Instruments prêté par les Anglais vers 1978 via le physicien Paul Hilton, bien que ce soit confirmé par J-L Ragazzoni et Reinhard Scherm. Un article de 1980 [4] fait d'ailleurs état d'une expérience aux neutrons à 20 mK avec ce cryostat et les auteurs, qui avaient utilisé le cryostat CNRS/CRTBT auparavant, semblaient épatés d'avoir pu garder cette température trois semaines durant. Toutefois Henri Godfrin dit qu'il souffrait de multiples fuites et pannes, et Anton Heidemann se souvient d'une expérience sur IN13 où il avait fallu 6 jours pour descendre en température. C'est d'ailleurs cela qui a convaincu Karl Neumaier de chercher une solution plus confortable : l'insert à dilution.
Bilan : Jusque vers 1982, le nombre d'expériences scientifiques réussies aux TBT reste faible. Alain Filhol se souvient de Dominique Brochier présent jour et nuit sur l'une de ces deux usines à gaz manifestement difficiles à dompter.
<Cliquer sur une image pour l'agrandir>
Les TBT rendues faciles
Durant les années 80, l'ILL poursuit ses efforts avec les cryostats à dilution dédiés dont il dispose. Par exemple le rapport de 1983 cite des expériences réussies avec la dilution S.E.R.C. jusqu'à 25 mK [5]. Il s'agit sans doute du cryostat Oxford Instruments de Paul Hilton évoqué plus haut.
Les années 80 apporteront enfin des solutions magnifiques à cet épineux problème des très basses températures (TBT) :
1981
K. Neumaier (Garching) invente l'insert à dilution He3/He4 affectueusement surnommé "Charlie" en son hommage [6].
1983
en 1983 Alain Benoît (CNRS/CRTBT) et Serge Pujol inventent un cryostat à dilution à circulation d'hélium pouvant fonctionner dans n'importe quelle orientation (D10) ou en gravité nulle (satellite).
1984
Alain Benoît (CNRS/CRTBT) et Serge Pujol (ILL) [7,8] déposent le brevet d'un cryostat à dilution permettant un changement rapide de l'échantillon. Alain Filhol se souvient d'Alain Benoît venu sur D1B avec ce cryostat très compact, pré-refroidi avant le transport sur l'instrument; à l'émerveillement de tous, il avait atteint la température requise en un rien de temps. Le premier cryostat de ce type atteignait 50 mK en seulement 2,5 heures. Très vite, une version améliorée atteint 13 mK en 4 heures. En 1985, il a déjà 50 heures de mesures aux neutrons à son actif et atteint 10 mK en 5 heures. En 1986 il totalise 263 jours de mesures aux neutrons sur 29 instruments et 49 échantillons, et très peu de pannes ! Ce cryostat à dilution "miracle" présente quand même l'inconvénient d'être à chargement par le bas ("bottom loading").
1990 DRILL (Projet Godfrin, 5 mK)
Sur la base de technologies développées avec Giorgio Frossati, Henri Godfrin (CNRS/CRTBT) développe DRILL, un cryostat à dilution "classique" mais capable de délivrer des puissances frigorigiques importantes.
Il semble que la fiabilité des cryostats classiques à dilution de l'ILL se soit un temps dégradée mais, selon Jacques Ollivier, l'intervention de personnes comme Xavier Tonon la fera enfin passer de 2 manips réussies sur 3, à 9 sur 10. Entre temps les inserts à dilution ont raflé la mise et assurent l'essentiel des expériences TBT aux neutrons jusqu'à 50 mK.
<Cliquer sur une image pour l'agrandir>
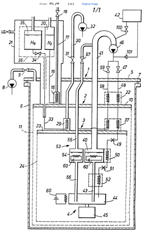
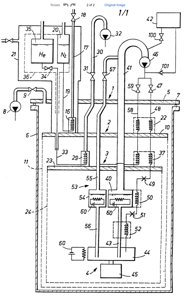
Le projet DRILL (3 mK)
avec l'aide de Henri Godfrin.
Comme on l'a vu plus haut, les deux cryostats à dilution "classique" de l'ILL (CNRS/CRTBT et Air Liquide) n'avaient pas vraiment donné satisfaction. Il y avait pourtant un réel besoin de puissances calorifiques plus importantes que celles offertes par les inserts, la dilution en gravité nulle, etc.
Le cryostat DRILL, doté d'un échangeur à poudre d'argent inventé par Giorgio Frossati [9], a donc été conçu en 1988-89 par H. Godfrin (agent CNRS détaché à l'ILL), et a été réalisé par Christian Gianèse (CNRS-CRTBT), Roger Chung (ILL) et la société TBT-Air Liquide. Les différents éléments ont été montés et testés entre 1990 et 1992. L'ILL a financé le corps du cryostat et le CNRS l'étage à dilution. Le Service Cryogénie de l'ILL apportait un soutien technique mais ne s'occupait pas de la maintenance.
Il s'agissait d'une dilution de forte puissance, pour des expériences avec les très grosses cellules utilisées notamment pour les Fluides Quantiques (expériences 3He, 4He, hélium adsorbé). Ce cryostat a aussi joué un rôle important pour la thermométrie (CMN et courbe de fusion 3He) en permettant l'étalonnage des sondes pour les autres dilutions de l'ILL.
<Cliquer sur une image pour l'agrandir>
Christopher Bäuerle lors de manips de thermométrie entre 5 mK et 4,2K réalisées à l'ILL avec Henri Godfrin
©1995 CNRS/CRTBT
Références
- La technologie des cryostat à dilution est encore balbutiante. Le premier construit en France date de 1966 (CNRS/CRTBT et CEA/SBT). Gilbert Bon Mardion raconte qu'il n'a pas été publié car il avait fait "seulement" jeu égal avec son prédécesseur américain. En fait il avait fait mieux mais cela avait échappé aux mesures de l'époque. Oxford Instruments s'est également lancé dans les cryostats à dilution en 1966.
- Frossati G. Godfrin H. Hebral B. Schumacher G., Thoulouze D. (1978) in "Physics at Ultra Low Temperatures - Proc. ULT Hakoné Symposium", Physical Society of Japan, p 205 (1978)
- Stirling W G , Scherm R, Hilton P A and Cowley R A 1976 J Phys C: Solid St. Phys. 9 1643-63.
"The cryostat had a liquid nitrogen bath and a liquid 4He bath which was pumped down to a temperature of 2.5 K. Below the liquid 4He bath was mounted a 3He bath using a Joule-Thomson cycle for cooling which could be pumped to give any temperature between 3 K and 0.63 K. With this system continuous operation of the cryostat was possible for periods in excess of 45 h, with a temperature stability estimated to be ±0.05 K." - Hilton P.A. , Cowley R.A. , Scherm R. , Stirling W.G. "Lifetime of zero sound in liquid 3He"
Journal of Physics C 13, L295-L299 (1980)
"The cryostat was an Oxford Instruments dilution refrigerator which kept the 3He sample below 0.02 K for three weeks without difficulty. The cryostat had the additional advantage over the one used earlier of having a sample chamber of larger diameter, so that the specimen cassette could be made longer: 15 cm." - S.E.R.C. : Science and Engineering Research Council, UK.
- K.Neumaier, Rev. Phys. Appl.19, 9 (1984).
K.Neumaier, A.Heidemann, A.Magerl, Rev. Phys. Appl. 19, 773 (1984) - A. Benoît, S. Pujols, "Cryostat à dilution", (1984), brevet EP0188976 A1.
- S. Pujol, "Etude et réalisation de réfrigérateurs à dilution en cycle ouvert", Diplôme supérieur de recherche (DSR), univ. Grenoble I, 1 juin 1994.
- Frossati G, Godfrin H, Hebral B, Schumacher G and Thoulouze D, "Conventional cycle dilution refrigeration down to 2.0 mK", Physics at Ultralow Temperatures: Proc. Hakone Int. Symp. (Tokyo: Physical Society of Japan) p 205 (1977).
- Roger Gariod
- Néel et le CENG
- Goodies et vieilleries
- L'ILL et le traitement des cancers
- Le groupe théorie
- [50 ans] Souvenirs de Egelhofer
- [50 ans] Ce à quoi le RHF a échappé
- [50 ans] LADI et biologie structurale
- [50 ans] La communication
- [50 ans] Calcul scientifique
- [50 ans] Service mécanique
- [50 ans] Controle instrument
- Du noyau atomique aux rats
- Herma, dresseuse de chats
- Quart de nuit
- Mambo I
- D6 et Covid-19 (2020)
- Covid-19 et l'ILL (2020)
- Pierre Andant
- Un espace culturel scientifique international
- Bruce Forsyth
- Après-Fukushima (JP Martin)
- Cuve EPR (JP Martin)
- Détours et déviations (W. Just)
- Le 50e anniversaire de l'ILL (P. Aldebert)
- Les 50 ans de l'ILL (2017)
- Démantèlement UP2 400 (2016)
- Empoisonnement xénon (2016)
- Environnement échantillon (2015)
- Remplacement du bidon réacteur (2014)
- Encyclopédie des neutrons (2014)
- Enseignement international (2014)
- Zoé - goutte d'eau lourde (2014)
- Pierre Aldebert (2014)
- Cristallographie (2014)
- Hommage à Mélusine (2014)
- Hommage à Siloé (2013)
- Les commissions locales d'information (CLI) (2013)
- Les ateliers nationaux du 21ème siècle (2013)
- Démantèlement ou déconstruction (2013)
- L'affaire Greifeld (2013)
- Mix et transition énergétique (2012)
- La Boîte à Neutrons