Circulation d'He
Cryostats à circulation d'hélium
Les cryostats à bain d'hélium liquide refroidissent l'échantillon principalement par conduction mais cette façon de faire ne convient pas si l'échantillon doit bouger en tous sens comme dans le cas de mesures de diffraction sur monocristal.
Dans ce cas, la solution la plus simple est de doucher l'échantillon avec du gaz ou du liquide froid. Lors des débuts de l'ILL, c'est donc un jet d'azote froid qui était utilisée pour les mesures aux rayons X à basse température. Elles s'en trouvaient de fait limitées à 100 K/-173°C car, sauf cas particulier, ce n'était guère praticable avec de l'hélium.
L'ILL avait donc là une belle carte à jouer en proposant aux scientifiques une gamme de températures étendue en tirant partie de la puissance de ses faisceaux et de l'excellente pénétration des neutrons vis-à-vis des métaux courants. En effet, il devenait possible de placer des parois dans le faisceau, ce que ne permettaient pas les sources de rayons X peu puissantes d'avant les synchrotrons.
1972 - D10 des débuts de l'ILL - 20 K
L'excellente pénétration des neutrons vis-à-vis des métaux courants permettait de placer des parois dans le faisceau, ce que ne permettaient pas les sources de rayons X peu puissantes d'avant les synchrotrons. Claudet et Tippe [1] en ont immédiatement tiré partie, avant même l'arrivée des premiers neutrons, en construisant pour le diffractomètre 4-cercles à neutrons D10 un cryostat à circulation d'hélium original, conçu pour être compatible avec les mouvements complexes de l'échantillon.
La tête froide était alimentée par à une canne de transfert rigide mais avec deux points de flexion d'une vingtaine de degrés. Ceci permettait de compenser le fait que l'arrivée du gaz ne se faisait pas selon l'axe de rotation χ du berceau d'Euler, mais décalée d'une vingtaine de centimètres afin qu'aucun tube ne vienne dans le faisceau incident. L'inconvénient de ce montage était une limitation notable de la rotation χ.
Le schéma donné dans [1] est inexact car le bidon d'hélium devait toujours rester dans le plan du berceau d'Euler, il était donc monté sur un plateau tanzboden dont la rotation était asservie à celle de la rotation ω du 4-cercles.
Ce dispositif délicat d'emploi était néanmoins une grosse avancée car D10 était le seul diffractomètre 4-cercles au monde pouvant atteindre 20 K, que ce soit aux rayons X ou aux neutrons.
<Cliquez sur une image pour l'agrandir>
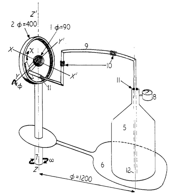
1978 - D10 amélioré - 4 K à 300 K
Une grosse amélioration aura été de mettre le tube d'alimentation en hélium de la tête froide dans l'axe du berceau d'Euler afin de remplacer les flexions par des rotations, bien plus fiables et simples et qui, en outre, éliminaient les angles morts.
Cela résulte d'une discussion nocturne sur D10, en 1974 ou 1975, entre Claude Zeyen et Alain Filhol. Excédés par les pannes répétées du dispositif de rotation de la bouteille d'hélium, ils ont réalisé qu'il devenait inutile si le tube était placé selon l'axe du cercle χ et que cela n'aurait aucune incidence néfaste sur les mesures. En effet Alain savait que, par rotation Renninger, il est toujours possible d'éviter que ce tube n'entre dans le faisceau incident de neutrons car il venait de mettre au point une procédure d'évitement des énormes angles morts du massif berceau d'Euler Harwell MK VI (Grubb-Parsons) de D15.
Claude a concrétisé le dispositif quelques années plus tard [2].
<Cliquez sur une image pour l'agrandir>
1991 - Dilution en gravité nulle - 400 mK puis 100 mK
L'idée vient d'Alain Benoit qui cherchait un moyen de produire un cryostat spatial, donc capable de travailler en gravité nulle. Après de nombreux efforts il s'est découragé, mais Serge Pujol s'est obstiné et a finalement réussi.
Le rapport annuel de 1990 note : "The development of a dilution refrigerator insensitive to gravity was continued in collaboration with CRTBT. The results are now sufficient to start the construction of the dilution 4-circle cryostat."
Ce cryostat à dilution garde la même géométrie que précédemment mais l'invention de Benoit et Serge permet d'atteindre des mK dans n'importe quelle orientation (D10) ou en gravité nulle (satellites) [3,4,5]. C'est un record mondial et cela a effectivement ouvert la porte de l'espace aux cryostats à dilution
[Cliquer ici pour voir l'astuce qui a permis ce cryostat]
<Cliquez sur une image pour l'agrandir>
Références
- Claudet G.M. , Tippe A. , Yelon W.B. - A cryostat for four-cycle neutron diffraction, Journal of Physics E: Sci. Instrum. 9, 259-261 (1976)
- C.M.E. Zeyen, R. Chagnon, F. Disdier et H. Morin, "A helium-flow cryostat (3 to 300 K) for neutron four-circle spectrometry" Rev. Phys. Appl. (Paris) 19, 789-791 (1984).
- A. Benoiît and S. Pujol, “A dilution refrigerator insensitive to gravity”, Physica B 169 (1991) 457
- S. Pujol, "Etude et réalisation de réfrigérateurs à dilution en cycle ouvert", Diplôme supérieur de recherche (DSR), univ. Grenoble I, 1 juin 1994.
- McIntyre, G. J.; Ouladdiaf, B.; Zeyen, C. M. E.; Thomas, F.; Benoit, A.; Pujol, S.: "Four-circle single-crystal diffractometry at mK temperatures on D10." The ILL Millenium Symposium & European User Meeting, 6–7 April 2001, p. 189.
- Roger Gariod
- Néel et le CENG
- Goodies et vieilleries
- L'ILL et le traitement des cancers
- Le groupe théorie
- [50 ans] Souvenirs de Egelhofer
- [50 ans] Ce à quoi le RHF a échappé
- [50 ans] LADI et biologie structurale
- [50 ans] La communication
- [50 ans] Calcul scientifique
- [50 ans] Service mécanique
- [50 ans] Controle instrument
- Du noyau atomique aux rats
- Herma, dresseuse de chats
- Quart de nuit
- Mambo I
- D6 et Covid-19 (2020)
- Covid-19 et l'ILL (2020)
- Pierre Andant
- Un espace culturel scientifique international
- Bruce Forsyth
- Après-Fukushima (JP Martin)
- Cuve EPR (JP Martin)
- Détours et déviations (W. Just)
- Le 50e anniversaire de l'ILL (P. Aldebert)
- Les 50 ans de l'ILL (2017)
- Démantèlement UP2 400 (2016)
- Empoisonnement xénon (2016)
- Environnement échantillon (2015)
- Remplacement du bidon réacteur (2014)
- Encyclopédie des neutrons (2014)
- Enseignement international (2014)
- Zoé - goutte d'eau lourde (2014)
- Pierre Aldebert (2014)
- Cristallographie (2014)
- Hommage à Mélusine (2014)
- Hommage à Siloé (2013)
- Les commissions locales d'information (CLI) (2013)
- Les ateliers nationaux du 21ème siècle (2013)
- Démantèlement ou déconstruction (2013)
- L'affaire Greifeld (2013)
- Mix et transition énergétique (2012)
- La Boîte à Neutrons